精小型氣動O型切斷球閥
產品型號:ZJHR
發布時間:2009-11-25
ZJHR型精小型氣動O型切斷球閥是由DA系列和SR系列執行機構與精小型O型切斷球閥閥體組件組成。
下一個產品:全鍛鋼高壓硬密封球閥
上一個產品:電子式電動O型球閥
相關產品:
保溫球閥
氣動三通球閥
蝸輪固定球閥
電動對夾式球閥
全鍛鋼高壓硬密封球閥
精小型氣動O型切斷球閥
電子式電動O型球閥
氣動O型切斷球閥
電動O型調節球閥
氣動保溫球閥
襯氟球閥
外螺紋球閥
不銹鋼法蘭球閥
高壓焊接球閥
廣式內螺紋球閥
三通四密封球閥
三片式承插焊球閥
法蘭三通球閥
廣式法蘭球閥
法蘭放料球閥
鍛鋼硬密封球閥
三片式對焊球閥
三片式法蘭球閥
三片式球閥
二片式球閥
一片式球閥
對夾式薄型球閥
電動三通球閥
保溫縮徑球閥
超薄型對夾保溫球閥
對夾式保溫球閥
氣動固定球閥
蝸輪浮動法蘭球閥
螺紋不銹鋼三通球閥
不銹鋼整體高溫球閥
氣動浮動不銹鋼球閥
電動硬密封V型調節球閥
電動固定球閥
鍛鋼固定球閥
氣動O型切斷球閥概述:
氣動O型切斷球閥廣泛適用于天然氣、油品、化工、冶金、造紙 電辦、礦業,印染、生物制藥,日用化工,食品飲料,水處理 及空氣處理等行業的流體自動控制或調節控制,與自動化氣動儀表配套使用。 浮動式球閥采用唇型彈性密封圈結構設計,保證密封的可靠性對于低壓、超低壓或真空工況用球閥,采用板簧加載的閥座密封結構,能確保球閥長期可靠的密封。中、高溫球閥的閥座材料可選用對位聚苯或金屬材料.。固定式球閥根據壓力的大小、介質性質及密封要求的不同而選擇球前密封結構、球后密封結構或前后雙密封結構。中、高溫球閥的閥座材料可選用對位聚苯或金屬材料。
氣動O型切斷球技術參數:
| 閥類 | 傳動方式 | 連結形式 | 結構形式 | 密封面 | 公稱壓力(MPa) | 閥體材料 |
| 球閥 |
6-氣動 6s-氣動帶手動 |
法蘭式 | 浮動球直通 |
F-氟塑料 H-合金鋼 PPL |
1.6 2.5 4.0 6.4 |
按表內閥體 材料代號 |
| 公稱通徑DN(mm) | 15-250 | |||||
| 材料材料代號 | C | P | R | |||
|
主 要 零 件 |
閥體 | WCB | ZG1Cr18Ni9Ti | ZG1Cr18Ni12Mo2Ti | ||
| 球板 | WCB | 1Cr18Ni9Ti | 1Cr18Ni12MoTi | |||
| 閥桿 | 2Cr13 | 1Cr18Ni9Ti | 1Cr18Ni12MoTi | |||
| 密封圈 | 增強聚四氟乙烯 對位聚笨 | |||||
| 填料 | 聚四氟乙烯 柔性石墨 | |||||
|
適 用 工 況 |
適用介質 |
水、蒸汽、油品
|
硝酸類 | 醋酸類 | ||
| 適用溫度 | -28℃~300℃ | |||||
| 控制型式 | 雙作用/單作用 | |||||
| 作用型式 | 切斷/調節 | |||||
| 輸入信號 | 電信號:0~10mA、-4~10mA 氣信號20~100kPa | |||||
| 回信電壓 | AC220V/DC24V | |||||
| 工作介質 | 凈化壓縮壓氣 | |||||
| 執行器 | 型號 | GT系列、HY系列、AW系列、ZSH系列 | ||||
| 氣源壓力 | 0.4~0.7MPa | |||||
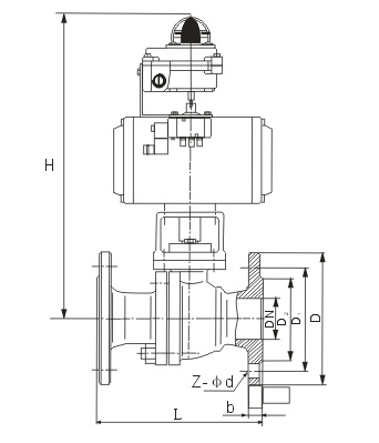
氣動O型切斷球結構尺寸圖:

氣動O型切斷球安裝尺寸表:
| 公稱通徑DN(mm) | 尺 寸(mm) | 執行器型號 | ||||||||||||||||
| 1.6MPa | 2.5MPa | H | 4.0MPa | |||||||||||||||
| L | D | D1 | B | Z-D | L | D | D1 | B | Z-D | L | D | D1 | B | Z-D | H | |||
| 15 | 130 | 95 | 65 | 14 | 4-14 | 130 | 95 | 65 | 16 | 4-14 | 200 | 130 | 95 | 65 | 16 | 4-14 | 200 |
可選配GTD/GTE、 AW/AWS、HY、 ZSH系列執行器 (以上選配僅供參 選具體選用根據實 際要求) |
| 20 | 130 | 105 | 75 | 14 | 4-14 | 130 | 105 | 75 | 16 | 4-14 | 204 | 150 | 105 | 75 | 16 | 4-14 | 204 | |
| 25 | 140 | 115 | 85 | 14 | 4-14 | 140 | 115 | 85 | 16 | 4-14 | 215 | 160 | 115 | 85 | 16 | 4-14 | 210 | |
| 32 | 165 | 135 | 100 | 16 | 4-18 | 165 | 135 | 100 | 18 | 4-18 | 240 | 180 | 135 | 100 | 18 | 4-18 | 240 | |
| 40 | 165 | 145 | 110 | 16 | 4-18 | 165 | 145 | 110 | 18 | 4-18 | 264 | 200 | 145 | 110 | 18 | 4-18 | 264 | |
| 50 | 203 | 160 | 125 | 16 | 4-18 | 203 | 160 | 125 | 20 | 4-18 | 274 | 230 | 160 | 125 | 20 | 4-18 | 360 | |
| 65 | 222 | 180 | 145 | 18 | 4-18 | 222 | 180 | 145 | 22 | 8-18 | 379 | 290 | 180 | 145 | 22 | 8-18 | 390 | |
| 80 | 241 | 195 | 160 | 20 | 8-18 | 241 | 195 | 160 | 22 | 8-18 | 389 | 310 | 195 | 160 | 22 | 8-18 | 450 | |
| 100 | 305 | 215 | 180 | 20 | 8-18 | 305 | 230 | 190 | 24 | 8-23 | 416 | 350 | 230 | 190 | 24 | 8-23 | 480 | |
| 125 | 356 | 245 | 210 | 22 | 8-18 | 356 | 270 | 220 | 28 | 8-25 | 542 | 400 | 270 | 220 | 28 | 8-25 | 650 | |
| 150 | 394 | 280 | 240 | 24 | 8-23 | 394 | 300 | 250 | 30 | 8-25 | 572 | 480 | 300 | 250 | 30 | 8-25 | 670 | |
| 200 | 457 | 335 | 295 | 26 | 12-23 | 457 | 360 | 310 | 34 | 12-25 | 600 | 600 | 375 | 320 | 38 | 12-30 | 720 | |
訂貨須知:
一、A:產品名稱、型號、公稱通徑B:介質及溫度、壓力范圍C:是否有附件、交貨期、特殊要求等以便我們的為您正確選型。
二、若已經由設計單位選定我公司的閥門型號,請您根據閥門參數直接與我們銷售中心訂購。
三、當您使用的場合非常重要或環境比較復雜時,請您提供設計圖紙和詳細參數,我們的工程師專家會專心為您審核與分析。
四、以上價格均為虛價,有意者請聯系我們。