QBY系列氣動隔膜泵是一種新型輸送機械,是目前國內最新穎的一種泵類。采用空氣壓縮機壓縮空氣為動力源,對于各種腐蝕性液體,帶顆粒的液體,高粘度、易揮發、易燃、劇毒的液體,均能予以抽光吸盡。其性能參數與聯邦德國的 WLLDENPVMPS、美國的MARIOWPUMPS相近.本廠目前已形成系列化生 產,共有八種規格直徑:¢10mm(3/8")、¢15mm(1/2")、¢25mm(1")、¢40mm( 1 1/2")、¢50mm(2")、¢65mm( 2 1/2")、¢80mm(3")、¢100mm(4")。三種材質、鋁合金、鑄鐵、不銹鋼。隔膜泵根據不同液體介質分別采用丁晴橡膠、氯丁橡膠、氟橡膠、聚四氟乙烯。以滿足不同用戶的需要。該泵自投產以來,已被國內一千多家石油、化工、電子、陶瓷、紡織、油漆、制藥機械系統單位采用,安置在種特殊場合,用來抽送各種常規泵不能抽吸的介質,且替代齒輪泵的理想產品,均取的了滿意的效果。
二、氣動隔膜泵性能參數
|
型號 |
流量 |
揚程 |
出口壓力 |
吸程 |
最大允 許能 直徑 |
最大供氣 壓力 |
最大供氣 消耗量 |
材料 |
|||
|
鋁合金 |
不銹鋼 |
鑄造鐵 |
增強聚丙烯 |
||||||||
|
QBY-10 |
0~0.8 |
0~50 |
6 |
5 |
1 |
7 |
0.3 |
★ |
★ |
★ |
★ |
|
QBY-15 |
0~1 |
0~50 |
6 |
5 |
1 |
7 |
0.3 |
★ |
★ |
★ |
★ |
|
QBY-25 |
0~2.4 |
0~50 |
6 |
7 |
2.5 |
7 |
0.6 |
★ |
★ |
★ |
★ |
|
QBY-40 |
0~8 |
0~50 |
6 |
7 |
4.5 |
7 |
0.6 |
★ |
★ |
★ |
★ |
|
QBY-50 |
0~12 |
0~50 |
6 |
7 |
8 |
7 |
0.9 |
★ |
★ |
★ |
/ |
|
QBY-65 |
0~16 |
0~50 |
6 |
7 |
8 |
7 |
0.9 |
★ |
★ |
★ |
/ |
|
QBY-80 |
0~24 |
0~50 |
6 |
7 |
10 |
7 |
1.5 |
★ |
★ |
★ |
/ |
|
QBY-100 |
0~30 |
0~50 |
6 |
7 |
10 |
7 |
1.5 |
★ |
★ |
★ |
/ |
注:★-有 ∕-無
三、氣動隔膜泵主要用途
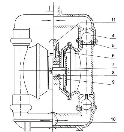
五、氣動隔膜泵結構圖

1 進氣口 2 配氣閥體 3 配氣閥 4 圓球 5 球座 6 隔膜 7 連桿 8 連桿銅套 9 中間支架 10 泵進口 11 排氣口
六、氣動隔膜泵型號意義

七、氣動隔膜泵使用注意事項
八、氣動隔膜泵應用實例
橡膠隔膜以天然橡膠模壓而成,橡膠內加入人造添加劑以提高隔膜的抗化學性和彎曲性能。在壓模橡膠隔膜時,橡膠內安置了一種尼龍編織網以分散應力從而強化隔膜。
特氟隆是一種被認為最具化學穩定性的人工合成材料。弘凌泵閥制造的專利特氟隆隔膜帶加強肋來控制隔膜的彎曲形狀從而延長其壽命。利用這種特氟隆隔膜的革新提高了費用效能, 同時極大地擴展隔膜泵的應用范圍。特氟隆不是彈性物質,沒有彈性,因此有一個支撐隔膜來提供支撐和延長壽命。